Transmission Reassembly
Transmission ReassemblyNOTE: Prior to reassembling, clean all the parts in solvent, dry them, and apply lubricant to any contact surfaces.

1. Install the release bearing guide (A), new drain plug washer (B), and drain plug (C).

2. Install the magnet (A) and differential assembly (B).

3. Install the 28 mm spring washer (A) and 28 mm washer (B) over the ball bearing (C). Note the installation direction of the spring washer (A).
4. Apply vinyl tape the mainshaft splines (D) to protect the seal. Install the mainshaft and countershaft (E) into the shift forks (F), and install them as an assembly.

5. Install the reverse shift fork.

6. Install the 20 x 36 x 2 mm thrust washer (A), reverse idler gear (B), and reverse gear shaft (C) by aligning the mark (D) with reverse gear shaft hole (E).

7. Select the proper size 72 mm shim (A) according to the measurements made during the Mainshaft Thrust Clearance Adjustment. Install the oil gutter plate (B), oil guide plate M, and 72 mm shim into the transmission housing (C).

8. Remove any dirt or oil from the transmission housing sealing surface. Apply liquid gasket (P/N 08718-0001) to the sealing surface. Be sure to seal the entire circumference of the bolt holes to prevent oil leakage.
NOTE: If 4 minutes have passed after applying liquid gasket, reapply it and assemble the housings. Allow it to cure at least 20 minutes after assembly before filling the transmission with oil.

9. Install the 14 x 20 mm dowel pins (A).
10. Place the transmission housing over the clutch housing, being careful to line up the shafts.
11. Lower the transmission housing the rest of the way as you expand the 72 mm snap ring (B). Release the snap ring so it seats in the groove of the countershaft bearing.
12. Check that the 52 mm snap ring is securely seated in the groove of the countershaft bearing.
Dimension (1) as installed: 3.3 - 6.0 mm (0.13 - 0.24 inch)

13. Apply liquid gasket (P/N 08718-0001) (A) to the threads, and a 2 mm (0.079 inch) bead around the contact surface. Install the 32 mm sealing cap on the transmission housing.
NOTE: If 4 minutes have passed after applying liquid gasket, reapply it.

14. Install the transmission hangers A and B, harness bracket B (C), mount bracket collar (D), and 8 mm special bolts (left-hand threads) finger-tight.

15. Tighten the 8 mm special bolts (left-hand threads) in a crisscross pattern in several steps.
NOTE: The 8 mm special bolts are lefthand thread.

16. Remove any dirt or oil from the shift lever cover sealing surface. Apply liquid gasket (P/N 08718-0001) to the sealing surface.
NOTE: If 4 minutes have passed after applying liquid gasket, reapply it and assemble the housings. Allow it to cure at least 20 minutes after assembly before filling the transmission with oil.

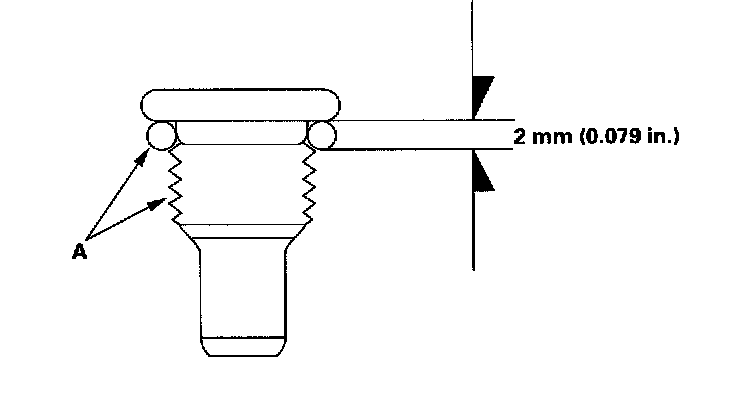
17. Apply liquid gasket (P/N 08718-0001) (A) to the threads of the interlock bolts (D), and a 2 mm (0.079 inch) bead around the contact surface.
NOTE: If 4 minutes have passed after applying liquid gasket, reapply it.

18. Install the 8 x 14 mm dowel pins (B), change lever assembly (C), and harness bracket A.
19. Install the interlock bolt (D) on the transmission housing.

20. Install the mount bracket collar (A), new filler plug washer (B), filler plug (C), new 10 mm washer (D), and 10 mm flange bolt (E).
21. Install the new O-ring (F), plain washer (G), and the countershaft speed sensor (H).

22. Apply liquid gasket (P/N 08718-0001) (A) to the threads of the switch, and a 2 mm (0.079 inch) bead around the contact surface.
NOTE: If 4 minutes have passed after applying liquid gasket, reapply it.

23. Install the detent bolts, spring, and steel balls (A) with new 12 mm washers (B).
24. Install the new 20 mm washer (C), 20 mm bolt (D), and transmission hanger (E).
25. Install the back-up light switch (F) on the transmission housing.