A/T Clutch Pressure Control Solenoid Valve A Test
A/T Clutch Pressure Control Solenoid Valve A Test
1. Connect the HDS to the DLC (A).
2. Select LINEAR SOL TEST in MISC. TEST MENU on the HDS.
3. Carry out LINEAR SOL A TEST in LINEAR SOL TEST MENU with the HDS.
4. Follow instructions indicated on the HDS by the test result. If the HDS has not determined the cause of the failure, remove A/T clutch pressure control solenoid valve A and test.
5. Remove the intake air duct.

6. Disconnect the A/T clutch pressure control solenoid valve A connector.
7. Measure A/T clutch pressure control solenoid valve A resistance at the solenoid valve A connector.
Standard: 3 - 10 ohms
8. If the resistance is out of standard, replace the A/T clutch pressure control solenoid valve A.
9. Connect the battery positive terminal to the No. 1 terminal of the A/T clutch pressure control solenoid valve A connector, and connect the battery negative terminal to the No. 2 terminal. A clicking sound should be heard.
10. If no sound is heard, remove the A/T clutch pressure control solenoid valve A.
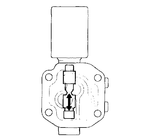
11. Check the fluid passage of the A/T clutch pressure control solenoid valve for dust or dirt.

12. Connect the No. 1 terminal of the A/T clutch pressure control solenoid valve A connector to the battery positive terminal, and connect the No. 2 terminal to the battery negative terminal. Make sure the A/T clutch pressure control solenoid valve moves.
13. Disconnect one of the battery terminals and check for valve movement.
NOTE: You can see valve movement through the fluid passage in the mounting surface of the A/T clutch pressure control solenoid valve A body.
14. If the valve binds or moves sluggishly, or if the solenoid valve does not operate, replace the A/T clutch pressure control solenoid valve A.