Overhaul

Steering Gearbox Overhaul
Special Tools Required
- Cylinder end seal remover attachment 07NAD-SR3020A
- Pilot collar 07GAF-PH70100
- Valve seal ring sizing tool 07NAG-SR3090A
- Ball joint boot clip guide 07974-SA50800
- Sleeve seal ring sizing tool 07974-SA5020A or 07974-SA50200
- Attachment, 32 x 35 mm 07746-0010100 Driver 07749-0010000
- Piston seal ring guide 07HAG-SF10100
- Piston seal ring sizing tool 07HAG-SF1020A or 07HAG-SF10200
- Cylinder end seal slider 07ZAG-S5A0300
- Pincers Oetiker 1098 or equivalent, commercially available.
NOTE: Refer to the Exploded View as needed during this procedure.
Removal
1. Remove the steering gearbox.
Disassembly

2. Remove the boot bands (A) and tie-rod clips (B). Pull the boot away from the ends of the steering gearbox.

3. Unbend the lock washers (A).

4. Hold the flat surface sections (A) of the steering rack with a wrench (B), and unscrew both rack ends (C) with a wrench (D). Be careful not to damage the rack surface with the wrench.
5. Remove the lock washer (E) and stop rubber (F).

6. Loosen the locknut (A), then remove the rack guide screw (B).
7. Remove the spring (C) and the rack guide (D) from the gearbox housing.

8. Remove the cylinder lines from the gearbox.
9. Drain the fluid from the cylinder fittings by slowly moving the steering rack back and forth.

10. Remove the two flange bolts, then remove the valve body unit (A) from the gearbox (B). Remove the O-ring (C), and discard it.

11. Drill a 3 mm (0.12 inch) diameter hole about 2.5 - 3.0 mm (0.10 - 0.12 inch) in depth in the staked point (A) on the cylinder. Do not allow metal shavings to enter the cylinder side on the gearbox housing. After removing the cylinder end (B), remove any burrs at the staked point.

12. Hold the gearbox housing using a C-clamp (commercially available) (A) and the wooden blocks (B) as shown. Do not clamp the cylinder part of the gearbox housing in the vise. Then remove the cylinder end (C).

13. Install a commercially available bearing separator (A) in the gearbox housing as shown.
14. Place an appropriate size deep socket wrench (B) on the steering rack (C).
15. Set the steering gearbox in a press so the gearbox housing side points upward, then press the cylinder end seal (D) and steering rack out of the gearbox. Hold the steering rack to keep it from falling when pressed clear. Be careful not to damage the inner surface of the cylinder side on the gearbox housing with the tool.

16. Install the special tool so it will fit through the rack guide hole of the gearbox housing. Insert a 24" long, 3/8" drive extension (A), and install it on the special tool. Make sure the special tool is securely positioned on the backup ring edges. Be careful not to damage the inner surface of the cylinder with the special tool.

17. Place the steering gearbox in a press, then remove the cylinder end seal (A) and backup ring (B) from the gearbox by pressing on the 24" long, 3/8" drive extension.
Note these items when pressing the cylinder end seal:
^ Keep the tool straight to avoid damaging the cylinder wall. Check the tool angle, and correct it if necessary, when removing the cylinder end seal.
^ Use a press to remove the cylinder end seal. Do not try to remove the seal by striking the tool; striking the tool would brake the backup ring, and the cylinder end seal would remain in the gearbox.

18. Carefully pry the piston seal ring (A) and O-ring (B) off the rack piston. Be careful not to damage the inside of the seal ring groove and piston edges when removing the seal ring.

19. Before removing the valve housing (A), apply vinyl tape (B) to the splines on the pinion shaft.
20. Separate the valve housing from the pinion shaft/ valve using a press.

21. With your finger, check the inner wall of the valve housing where the seal ring slides. If there is a step in the wall, the housing is worn. Replace it.
NOTE: There may be sliding marks from the seal ring on the wall of the valve housing. Replace the valve housing only if the wall is stepped.

22. Check for wear, burrs, and other damage to the edges of the grooves in the sleeve.
NOTE: The pinion shaft and sleeve are a precision matched set. If either the pinion shaft or sleeve must be replaced, replace both parts as a set.

23. Remove the snap ring (A) and sleeve (B) from the pinion shaft.

24. Using a cutter or an equivalent tool, cut and remove the four seal rings from the sleeve. Be careful not to damage the edges of the sleeve grooves and outer surface when removing the seal rings.

25. Using a cutter or an equivalent tool, cut the valve seal ring (A) and O-ring (B) at the cutting groove position (C) in the pinion shaft. Remove the valve seal ring and O-ring. Be careful not to damage the edges of the pinion shaft groove and outer surface when removing the valve seal ring and O-ring.

26. Remove the valve oil seal (A) and wave washer (B) from the pinion shaft.
Note these items during disassembly:
^ Inspect the ball bearing (C) by rotating the outer race slowly. If there is any excessive play or wear, replace the pinion shaft and sleeve as an assembly.
^ The pinion shaft and sleeve are a precise fit; do not intermix old and new pinion shafts and sleeves.

27. Press the valve oil seal (A) and roller bearing (B) out of the valve housing using a hydraulic press and special tool.
28. Clean the disassembled parts with solvent, and dry them with compressed air. Do not dip rubber parts in the solvent.
Reassembly

29. Apply vinyl tape (A) to the stepped portion of the pinion shaft, and coat the surface of the vinyl tape with power steering fluid.
30. Install the wave washer (B).
31. Coat the inside surface of the new valve oil seal (C) with power steering fluid, and install the seal with its grooved side facing opposite the bearing, then slide it over the pinion shaft, being careful not to damage its sealing lip (D).

32. Apply vinyl tape (A) to the splines and stepped portion of the shaft, and coat the surface of the vinyl tape with power steering fluid.
33. Fit the new O-ring (B) in the groove of the pinion shaft. Then slide the new valve seal ring (C) over the shaft and in the groove on the pinion shaft.

34. Remove the tape, and apply power steering fluid to the surface of the valve seal ring (A).
35. Apply power steering fluid to the inside of the special tool. Set the larger diameter end of the special tool over the valve seal ring, and move the special tool up and down several times to make the valve seal ring fit in the pinion shaft groove.
36. Remove the special tool, turn it over, slide the smaller diameter end over the valve seal ring. Move it up and down several times to make the valve seal ring fits snugly in the pinion shaft groove.

37. Apply power steering fluid to the surface of the special tool. Slip two new seal rings (A) over the special tool from the smaller diameter end, and expand them. Install only two rings at a time from each end of the pinion shaft sleeve (B).
Note these items when installing the seal ring:
^ Do not over-expand the seal ring. Install the resin seal rings with care so as not to damage them. After installation, make sure you contract the seal rings using the special tool (sizing tool).
^ There are two types of sleeve seal rings: black and brown. Do not mix the different types of rings as they are not compatible.
38. Align the special tool with each groove in the sleeve, and slide a sleeve seal ring into each groove. After installation, compress the seal rings with your fingers temporarily.

39. Apply power steering fluid to the seal rings on the sleeve, and to the entire inside surface of the special tool, then slowly insert the sleeve into the special tool.
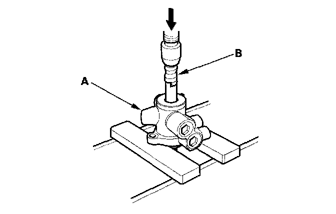
40. Move the sleeve back and forth several times to make the seal rings snugly fit in the sleeve. Make sure the seal rings are not twisted.

41. Apply power steering fluid to the surface of the pinion shaft (A). Slide the sleeve (B) onto the pinion shaft by aligning the locating pin (C) on the inside of the sleeve with the cutout (D) in the shaft. Then install the new snap ring (E) securely in the pinion shaft groove. Be careful not to damage the valve seal ring when inserting the sleeve.

42. Apply power steering fluid to the seal ring lip of the new valve oil seal (A), then install the seal in the valve housing (B) using a hydraulic press and special tools. Install the seal with its grooved side facing the tool.
43. Press the roller bearing (C) into the valve housing with a hydraulic press and special tool.

44. Apply vinyl tape (A) to the pinion shah, then coat the vinyl tape with power steering fluid.
45. Insert the pinion shah into the valve housing (B). Be careful not to damage the valve seal rings (C) and valve oil seal sealing lip (D).
46. Remove the vinyl tape from the pinion shah, then remove any residue from the tape adhesive.

47. Press the pinion shah/sleeve into the valve housing with a hydraulic press. Check that the pinion shah/ sleeve turns smoothly by hand after installing it.
48. Coat the special tool with power steering fluid, then slide it onto the rack, big end first.

49. Position the new O-ring (A) and new piston seal ring (B) on the special tool, then slide them down toward the big end of the tool.
Note these items during reassembly:
^ Do not over expand the resin seal rings. Install the resin seal rings with care so as not to damage them. After installation, make sure you contract the seal ring using the special tool (sizing tool).
^ Replace piston's O-ring and seal ring as a set.
50. Pull the O-ring off into the piston groove, then pull the piston seal ring off into the piston groove on top of the O-ring.
51. Coat the piston seal ring (A) and the inside of the special tool with power steering fluid, then carefully slide the tool onto the rack and over the piston seal ring.

52. Move the special tool back and forth several times to make the piston seal ring fits snugly in the piston.

53. Coat the sliding surface of the special tool (A) and new cylinder end seal (B) with power steering fluid. Place the seal on the special tool with its grooved side (C) facing opposite the special tool.

54. Coat the surface of the steering rack (A) with power steering fluid.
55. Install the cylinder end seal (B) onto the steering rack with its grooved side (C) toward the piston (D).
56. Separate the cylinder end seal from the special tool, then remove the special tool.

57. Install the new backup ring (A) on the steering rack, then place the backup ring and cylinder end seal (B) against the piston (C).

58. Apply multipurpose grease to the steering rack teeth, then insert the steering rack into the gearbox housing. Be careful not to damage the inner surface of the cylinder wall with the rack edges.

59. Insert an appropriate size deep socket wrench (A) onto the steering rack as shown.
60. Install the cylinder end seal (B) into the bottom of the cylinder by pressing on the tool with a press. Do not push on the tool with excessive force as it may damage the cylinder end seal.
61. Remove the tool, and center the steering rack.

62. Coat the sliding surface of the special tool (A) and new cylinder end seal (B) with power steering fluid. Place the seal on the special tool with its grooved side (C) facing opposite the special tool.

63. Coat the inside surface of the special tool and steering rack with power steering fluid, then install the cylinder end seal (A) onto the steering rack with its grooved side toward the cylinder.
64. Separate the cylinder end seal from the special tool, then remove the special tool.
65. Push in the cylinder end seal with your finger. Be careful not to damage the face of the seal with the threads and burrs at the staked position of the cylinder housing.

66. Hold the gearbox housing using a C-clamp (commercially available) (A) and wooden blocks (B). Do not clamp the cylinder part of the gearbox housing in the vise.

67. Coat the inside surface of the cylinder end (A) with power steering fluid, then install the cylinder end by screwing it into the cylinder (B). Tighten the cylinder end to the specified torque.
68. Stake the point of the cylinder shown (opposite from where the stake was removed during disassembly).

69. Coat the new O-ring (A) with multipurpose grease, and carefully fit it on the valve housing.
70. Apply multipurpose grease to the needle bearing (B) in the gearbox housing, then install the valve body unit (C) by engaging the gears. Note the valve body unit installation position (direction of the line connections).
71. Tighten the flange bolts (D) to the specified torque.

72. Install the cylinder lines.
Note these items during reassembly:
^ Thoroughly clean the joints of the cylinder lines. The joints must be free of foreign material.
^ Install the cylinder lines by tightening the flare nuts by hand first, then tighten the flare nuts to the specified torque.

73. Apply multipurpose grease to the sliding surface and circumference of the rack guide (A), and install it onto the gearbox housing.
74. Apply new sealant (Three Bond 1215 or Loctite 5699) to middle of the threads on the rack guide screw (B), then install the spring (C) and rack guide screw.
75. Tighten the rack guide screw, and loosely install the locknut (D).
76. Adjust the rack guide screw. After adjusting, check that the rack moves smoothly by sliding it right and left.

77. Install a new stop rubber (A) and a new lock washer (B). Align the lock washer tabs (D) with the slots (E) on the rack end (C) while holding the lock washer in place. Repeat this step for the other side of the rack.
78. Hold the flat surface sections of the steering rack with a wrench, and tighten both rack ends. Be careful not to damages the rack surface with the wrench.

79. Bend the lock washer (A) back against the flat spots on the rack end joint housing.

80. Apply multipurpose grease to the circumference of the rack end joint housing (A).
81. Apply a light coat of silicone grease to the boot grooves (B) on the rack ends.
82. Center the steering rack within its stroke.

83. Clean off the any grease or contamination from the boot installation grooves (A) around on the gearbox housing. Install the boots (B) on the rack ends with the tie-rod clips (C), and fit the boot end in the installation grooves in the housing properly.
84. After installing the boots, wipe the grease off the threaded section (D) of the rack end.

85. Install the new boot bands by aligning the tabs (A) with the holes (B) of the band.

86. Close the ear portion (A) of the band (B) with commercially available pincers, Oetiker 1098 or equivalent (C).
87. Slide the rack right and left to be certain that the boots are not deformed or twisted.