Clockspring Assembly / Spiral Cable: Service and Repair
Cable Reel ReplacementRemoval
1. Make sure the front wheels are aligned straight ahead.
2. Disconnect the battery negative cable, and wait at least 3 minutes.
3. Remove the driver's airbag.

4. Disconnect the connector (A) from the cable reel, then remove the steering wheel bolt (B)
5. Confirm that the front wheels point straight ahead, then remove the steering wheel with a steering wheel puller. Do not tap on the steering wheel or steering column shaft when removing the steering wheel.

6. Remove the dashboard lower cover (A).

7. Remove the column cover screws (A) then remove the column covers (B, C).

8. Disconnect the dashboard wire harness 4P connector (A) from the cable reel 4P connector (B), then disconnect the dashboard wire harness 13P connector (C) from the cable reel (D).

9. Release the tab (A), then remove the cable reel from the column.
Installation
1. Before installing the steering wheel, align the front wheels straight ahead.
2. If not already done, disconnect the battery negative cable, and wait at least 3 minutes.

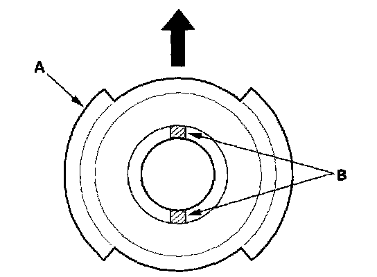
3. Set the cancel sleeve (A) so that the projections (B) are aligned vertically.

4. Carefully install the cable reel (A) on the steering column shaft. Then connect 13P connector (B) to the cable reel, and connect the 4P connector (C) to the dashboard wire harness 4P connector (D).
5. Install the steering column covers.

6. If necessary, center the cable reel. (New replacement cable reels come centered.) Do this by first rotating the cable reel clockwise until it stops. Then rotate it counterclockwise (about 3 turns) until the arrow mark (A) on the cable reel label points straight up.

7. Align the projections on the cable reel with the holes on the steering wheel, and install the steering wheel with a new steering wheel bolt (A), then reconnect the connector.
8. Install the driver's airbag.
9. Reconnect the battery negative cable.
10. Connect the HDS and clear the DTCs.
11. After installing the cable reel, confirm proper system operation:
- Turn the ignition switch ON (II), the SRS indicator should come on for about 6 seconds and then go off.
- After the SRS indicator has turned off, turn the steering wheel fully left and right to confirm the SRS indicator does not come on.
- Make sure the horn works.