Passenger Side
Front Passenger's Airbag Replacement
Special Tools Required - Airbag protector O7OAG-SEAO1OO
Removal
NOTE: If the front passenger's airbag has been deployed, refer to Installation for after a collision where the front passenger's airbag deployed.
1. Disconnect the battery negative cable, and wait at least 3 minutes before beginning work.
2. Remove the glove box, striker bracket and front passenger's air conditioning duct.

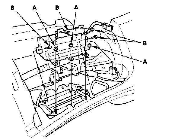
3. Disconnect the front passenger's airbag 4P connector (A) from the dashboard wire harness.

4. Remove the mounting nuts (A) and bolts (B) from the bracket. Remove the front passenger's airbag (C).
Installation
NOTE:


- Some new airbags come equipped with an airbag protector. Do not remove the protector before installation.
- Install the front passenger's airbag with the airbag protector cover as an assembly.
- Make sure the fabric of the airbag is not twisted or sticking out of the inflator.
- Keep the airbag clean, and do not unfold or tamper with the airbag fabric.
- If the fabric is twisted or sticking out of the inflator, do not use the airbag; replace it with a new one.
1. If you are re-using the existing front passenger's airbag, or your new airbag did not come with an airbag protector, go to step 2. If your new airbag has an airbag protector, go to step 4.

2. Install the airbag protector slots (A) onto the airbag clips (B).

3. Wrap the airbag protector over the airbag, and slide the slots (A) of the protector around the tabs on the airbag frame. Align the two pins (B) on the airbag frame into the two holes in the airbag protector.

4. Place the new front passenger's airbag with the airbag protector (A) into the mounting bracket on the dashboard, and install the center nut (B) by hand. Do not tighten fully.

5. Remove the lower hooks of the airbag protector (A) from the front passenger's airbag (B), and pull out the protector.

6. Tighten the front passenger's airbag mounting nuts (A) and bolts (B) to the specified torque.

7. Connect the front passenger's airbag 4P connector (A) to the dashboard wire harness, then reinstall the glove box and dashboard lower panel.
8. Reconnect the battery negative cable.
9. Connect the HDS, and clear the DTCs.
10. After installing the airbag, confirm proper system operation: Turn the ignition switch ON (II); the SRS indicator should come on for about 6 seconds and then go off.
Installation for after a collision where the front passenger's airbag deployed.
1. Disconnect the battery negative cable, and wait at least 3 minutes before beginning work.
2. Remove the dashboard assembly out of the vehicle, then remove the glove box striker and front passenger's air conditioning duct.
3. Remove the dashboard upper panel from the lower panel.
4. Install the new dashboard upper panel to the lower panel.

5. With the dashboard upside-down, remove the protective cover from the new dashboard upper panel.

6. Place the new front passenger's airbag with the airbag protector (A) into the mounting bracket on the dashboard, and install the center nut (B) by hand. Do not tighten fully.
NOTE:
- Be sure to use the airbag protector when installing the front passenger's airbag.
- Be sure to install the front passenger's airbag so it does not interfere with other parts.
- Be careful not to damage the airbag.
- Be sure to keep the new airbag clean, and do not unfold or tamper with the cloth cover on the airbag.

7. Remove the lower hooks of the airbag protector (A) from the front passenger's airbag (B), and pull out the protector.

8. Tighten the front passenger 5 airbag mounting nuts (A) and bolts (B) to the specified torque.
9. Install the dashboard assembly.

10. Connect the front passenger's airbag 4P connector (A) to the dashboard wire harness, then install all removed parts in the reverse order of removal.
11. Reconnect the battery negative cable.
12. Connect the HDS and clear the DTCs.
13. After installing the airbag, confirm proper system operation: Turn the ignition switch ON (III) the SRS indicator should come on for about 6 seconds and then go off.