How the Circuit Works
Navigation SystemHow the Circuit Works
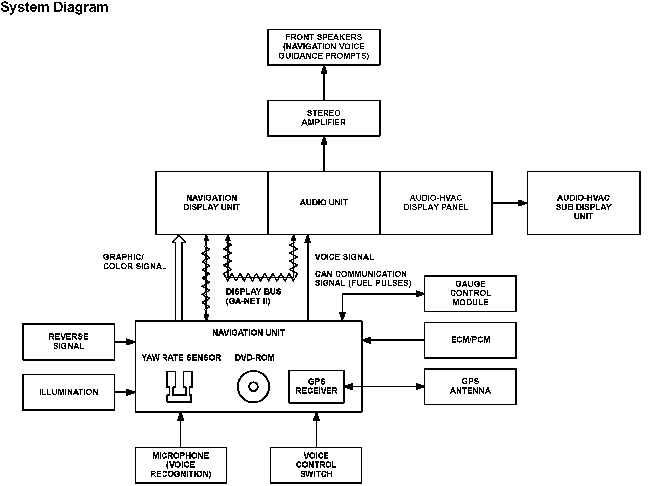
Diagram 156-6:

System Diagram
The navigation unit and the navigation display unit are the main components of the navigation system. These two components communicate with each other through the GA-Net II communication bus. The GA-Net II communication bus is also used by the Navigation Display Unit to communicate with the Audio Unit. The navigation unit generates the screen graphics, and then passes them to the navigation display unit as Red, Green, and Blue (RGB) color signals, and a sync signal. The navigation unit also connects to the F-CAN multiplex network, where it communicates with the gauge control module and the ECM/PCM.
The navigation display unit, audio unit, and audio-HVAC display panel are serviced as a single assembly. These three components interact with each other via internal ribbon cable connections to a common "motherboard". The "motherboard" supplies the audio-HVAC sub display unit with navigation clock time, driver's and front passenger's temperatures, and audio information via the audio-HVAC display panel.
Power Supply
Fuse 7 is hot at all times and supplies battery voltage to the navigation unit and to the navigation display unit. With the ignition switch in ACC (I) or ON (II), battery voltage is applied through fuse 32 to the navigation unit and to the navigation display unit.
User Controls
A navigation system can be controlled in three ways; (1) voice commands, (2) hard button inputs, and (3) touch screen inputs. The hard button and touch screen input information is communicated to the navigation unit from the navigation display unit via the GA-Net II communication bus. If, for any reason, the GA-Net II communication bus connection to the Audio Unit is open, the hard button and touch screen functions will be disabled. So, when adding accessories, the Audio Unit Connector B must be reconnected per the accessory instructions. The voice commands are communicated to the navigation unit by the microphone in the ambient light (located near individual map lights) when the TALK switch on the steering wheel is pressed. The navigation unit compares the microphone signal with a library of stored voice files in order to find a match. Most of the navigation, stereo sound, and HVAC functions can be controlled with voice commands. When the voice control system is in use, all of the speakers are muted. Refer to the Navigation System Owner's Manual for a list of valid voice commands.
Navigation Function
The navigation system utilizes the GPS signals obtained by the GPS antenna, the vehicle speed signal from the ECM/PCM, and the yaw rate sensor contained in the navigation unit to get a user from a starting position to a destination position. The position of the vehicle icon on the map is determined jointly by the GPS signals, the vehicle speed signal and the yaw rate sensor. The navigation system relies on DVD maps and points of interest (P01) in order to provide the user with the optimum route between starting and destination positions.
Route Guidance
When in route to a destination, the navigation system provides turn-by-turn map and voice guidance. The stereo sound system outputs the navigation voice guidance prompts to the front speakers. During navigation voice guidance prompts, the normal stereo sound signal to the front speakers is muted.
F-CAN Communications
F-CAN multiplex network information is transmitted across the communication lines for "real time" functions such as fuel, emissions, and traction control data. The gauge control module and ECM/PCM provide fuel consumption information to the navigation unit. This fuel consumption information, combined with the vehicle speed signal, provides a trip computer function displayed on the navigation INFO screen.
GPS Signal Reception
The GPS signals obtained by the GPS antenna are provided by up to 12 satellites. The navigation unit supplies the GPS antenna with 5V through a coax cable to power the antenna's amplifier. The GPS receiver in the navigation unit receives the amplified GPS signals back through the same coax cable. The GPS receiver identifies the satellites and processes the different GPS signals. These signals are then converted to actual locations by the navigation unit in order to determine the position of the vehicle. Note: Rear metallic window tinting or loose items sitting on the rear shelf can block GPS signal reception entirely.